

生产线优点:国内首条电锤自动组装线,同行业领先。
● 链条输送系统,柔性模式生产,故障设备可人工参与生产,确保不停线。
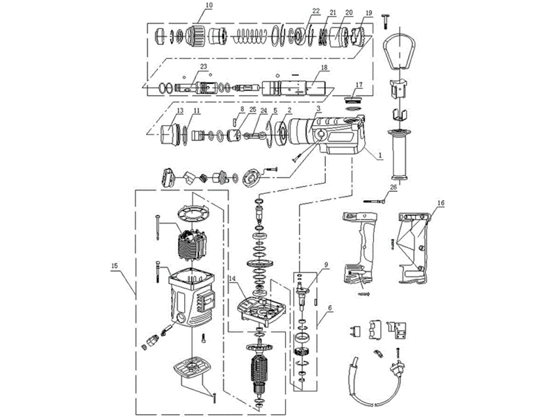
● 组件供料方式:通过优化完善工艺,将产品分为机壳定子组、齿轮箱组、转子中间盖组、气 缸组等几大组件。
● 在线自动模式:分别实现组件的自动化生产,并结合按钮组件、油盖组件、自动加油打油 盖、自动打螺丝、自动老化、测试、包装、码垛 及人工接线等整导线等工序,实现了电锤产品的完整自动化生产。
● 工具装箱完在线自动称重,防止配件漏装;自动展箱、封箱、打PP带,机器人码垛。
● 生产数据:生产节拍、设备异常、效率达成情况、停机待料时间等数据。


苏公网安备32058302005097号
技术支持:拾久科技